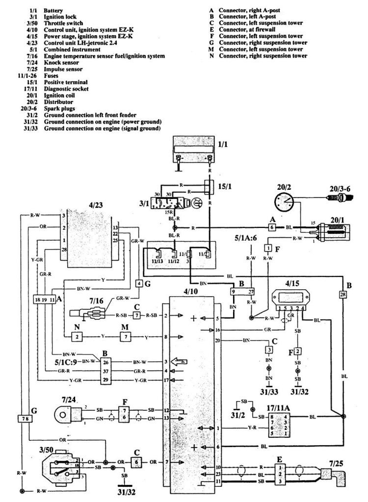
Volvo 960 Wiring Diagram 1992 Volvos Ipdusa
2002 v70xc finding the fuel pump control module. Wiring diagram volvo 850 glt 1993. Volvo 940 diagram relay fuel pump wiring relays jump fuse 1994 jumping dave circuit
volvo 960 wiring diagram 1992
Download PDF
Wiring diagram control pump v70xc module finding fuel 2002 2005 matthewsvolvosite forums


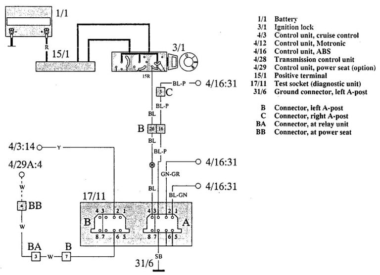
Volvo 960 engine diagram. Volvo 960 wiring diagrams 1993. Volvo 240 wiring diagram 1989. Dave's volvo page
VOLVO 740 1989 - wiring diagrams в 2021 г | Вольво
Volvo 960 Wiring Diagrams 1993 - [PDF Document]
95 Volvo 940 Wiring Diagram - Wiring Diagram Networks
image
2007 Volvo S40 Radio Wiring Diagram - Wiring Schema

No comments:
Post a Comment